Início
Loja
Atendimento ao Cliente
DHL Worldwide
Express | ECO Shipping Europe
Follow us
Sign In
0
0
Contacto
0
0
Início
Loja
Atendimento ao Cliente
DHL Worldwide
Express | ECO Shipping Europe
Follow us
Sign In
Contacto
Seleccione o seu veículo
Tipo
Fazer
Modelo
Ano
Minha garagem
Lista de Preços Públicos
Lista de Preços Públicos
Ordenar Por:
Nome (A-Z)
Destaques
Novidades
Nome (A-Z)
Preço - Ascendente
Preço - Descendente
Special 125
13 Sapata guia da corrente de sincronização no lado do escapamento MT 125 Ph2 / YZF R 125 Ph3
6,85
€
6.8500000000000005
EUR
14 Chave de eixo de equilíbrio MT 125 Ph2 / YZF R 125 Ph3
1,49
€
1.49
EUR
14 O-ring Yamaha V3 bomba de água
3,26
€
3.2600000000000002
EUR
14 Rolamento de eixo de equilíbrio Yamaha YZF R 125 Ph1
17,36
€
17.36
EUR
14 e 15 e 21 e 22 Pino de centralização do cilindro MT 125 / YZF R 125 Ph2 e Ph3
0,82
€
0.8200000000000001
EUR
15 ou 13 Rolamento de eixo de balanceamento MT Ph1 / YZF R 125 Ph1 e Ph2
20,70
€
20.7
EUR
16 Junta tensora da corrente de sincronização MT 125 Ph1 / YZF R 125 Ph2
2,48
€
2.48
EUR
16 Parafuso de cabeça de cilindro Yamaha MT 125 Ph1 / YZF R 125 Ph2
0,66
€
0.66
EUR
17 Parafuso de flange da tampa do pinhão 125 Aprilia RS4 - RS
0,95
€
0.9500000000000001
EUR
17 Tampa do termostato 125 Aprilia - 125 Orcal - 125 FB Mondial
3,88
€
3.88
EUR
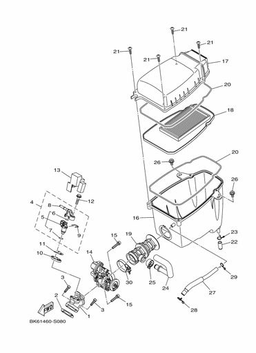
17 Yamaha MT 125 Ph2 / YZF R 125 Ph3 tampa da caixa de ar
27,40
€
27.400000000000002
EUR
18 Anel de centragem do termostato 125 Aprilia - 125 Orcal - 125 FB Mondial
0,66
€
0.66
EUR
18 Arruela de pressão Yamaha MT 125 Ph2 / YZF R 125 Ph3
0,99
€
0.99
EUR
18 Filtro de ar Yamaha MT 125 Ph2 / YZF R 125 Ph3
18,79
€
18.79
EUR
19 Fixação e sangria de parafusos 125 Aprilia - 125 Orcal - 125 FB Mondial
0,66
€
0.66
EUR
19 Parafuso de fixação da roda dentada da caixa de velocidades 125 Aprilia - 125 Orcal - 125 FB Mondial
0,25
€
0.25
EUR
19 Parafuso tensor da corrente de sincronização MT 125 Ph2 / YZF R 125 Ph3
1,57
€
1.57
EUR
19 Yamaha MT 125 Ph2 / YZF R 125 Ph3 conexão da caixa de ar
18,78
€
18.78
EUR
2 Guia de válvula MT 125 Ph2 / YZF R 125 Ph3
13,64
€
13.64
EUR
2 Junta da tampa oscilante 125 Aprilia - 125 Orcal - 125 FB Mondial
32,98
€
32.980000000000004
EUR
1
2
3
4
5